- Porsche has filed a brand new patent for racing stripes that may seem and disappear.
- The patent describes an exterior movie that may be utilized to the automobile’s exterior and adjustments when {an electrical} voltage is utilized.
- Porsche describes utilizing the know-how to point the automobile’s drive mode or cost standing.
Porsche has filed a brand new patent for hidden racing stripes. The know-how makes use of a movie materials, which the automaker describes as digital paper or a paramagnetic coating, on the car’s exterior that adjustments shade when an electrical voltage is utilized.
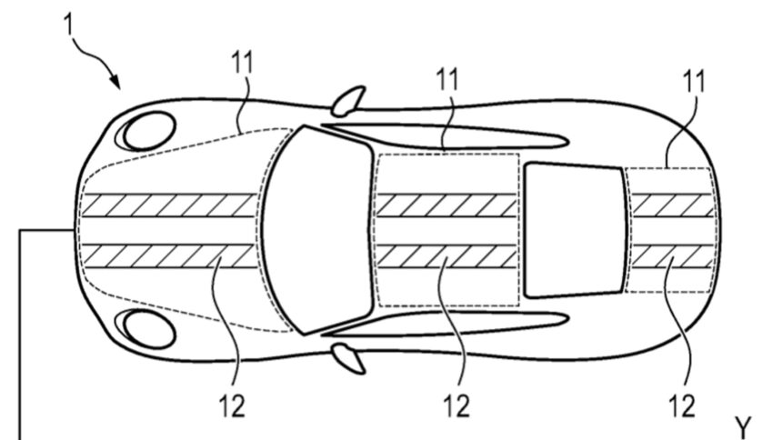
The patent showcases a number of methods Porsche might use the know-how, probably the most notable being for disappearing racing stripes. In accordance with the German filing, the stripes might change shade relying on the car’s drive mode, like inexperienced for eco or pink for sport—or they may fully disappear on the click on of a button.
The photographs additionally present utilizing the movie for stripes behind the rear wheels and on the rear diffuser. The patent additionally describes utilizing the know-how on an electrical car to show the automobile’s cost standing proper on the outside.
It’s a neat know-how, however not a novel one. Automakers already use electrochromic glass that adjustments opacity with adjustments in electrical present. This simply takes the know-how one step additional.
Motor1’s Take: Colour-changing vehicles aren’t a brand new idea. BMW launched the i Imaginative and prescient Dee idea with an E Ink exterior a number of years in the past, which allowed the automobile to put on 32 totally different colours. Porsche’s patent showcases how an automaker might use color-changing exteriors in modern and helpful methods, going past pure aesthetics.
Supply:
German Patent And Commerce Mark Workplace by way of CarBuzz
