Auto

Latest Auto News

Hyundai Ioniq Ideas: Made For China

Hyundai is launching its electrical Ioniq model in China.    It's previewing…

admin

Quickest Ariel Atom Ever: 0-100 MPH In 5.1 Seconds

Arial has launched its quickest Atom ever, the 4RR.    It makes…

admin

Aston Martin Prototype: Caught Testing On Video

A brand new video exhibits Aston Martin testing a mysterious new prototype.…

admin

Kia’s 2030 Technique: New Physique-On-Body Truck For America

Kia plans to launch a brand new midsize electrical and range-extended hybrid…

admin

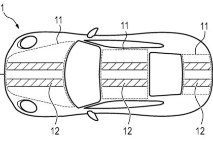
New Porsche Patent: Disappearing Racing Stripes

Porsche has filed a brand new patent for racing stripes that may…

admin

Volkswagen ID.4: Lifeless—For Now

Volkswagen is ending manufacturing of the ID.4 in Chattanooga. The shift will make…

admin

Scout Terra Pickup: Delayed Till 2030

Scout’s Terra pickup could possibly be delayed till 2030, years later than…

admin

Why Are EVs So Heavy?

From battery supplies to car design, here is why EVs are heavier…

admin

New BMW M3: Ultimate Design Previewed

This rendering imagines the i3 with aggressive M-inspired design cues. The manufacturing…

admin

Tom’s Racing Affords Heritage Program

Tom’s Heritage is providing a whole restoration program for the Toyota Corolla…

admin